| Συνδεθείτε στην Υπηρεσία Νομοσκόπιο | | | | | Νέοι χρήστες | | Εάν είστε νέος χρήστης, θα πρέπει να δημιουργήσετε ένα ΔΩΡΕΑΝ λογαριασμό προκειμένου να φύγει το παράθυρο αυτό και να αποκτήσετε πλήρη πρόσβαση στην υπηρεσία Νομοσκόπιο. | | Δημιουργία νέου λογαριασμού | | |
1. Τυπικές διατομές
1.1. Γενικά
Προκειμένου να επιτευχθεί ομοιομορφία και συνέχεια στη μελέτη, κατασκευή και λειτουργία μιας οδού, ορίζονται τυπικές διατομές που καλύπτουν τις απαιτήσεις και ανταποκρίνονται στα λειτουργικά χαρακτηριστικά της οδού. Αυτές οι τυπικές διατομές πρέπει να παραμένουν σταθερές σε μεγάλο μήκος των οδικών τμημάτων.
Όλες οι τυπικές διατομές συντίθενται από τα μέρη της διατομής, που περιγράφονται στο προηγούμενο κεφάλαιο και δίνονται στον Πίνακα 2-2, στα Σχήματα 3-1, 3-2, 3-3 και στο Παράρτημα Ι.
Η κυκλοφοριακή ικανότητα και η ασφάλεια της οδού εξαρτώνται άμεσα από:
| • | τον τύπο λειτουργίας της οδού, δηλαδή αν η οδός θα χρησιμοποιείται μόνο από τη μηχανοκίνητη κυκλοφορία (Πινακίδα με κωδικό Π-26 του Κώδικα Οδικής Κυκλοφορίας) ή από παντός τύπου οχήματα. |
1.2. Απεικόνιση των τυπικών διατομών
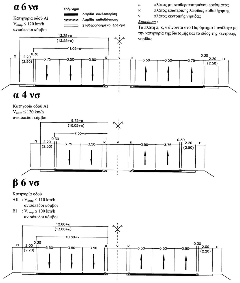
Οι τυπικές διατομές των οδών με διαχωρισμένες επιφάνειες κυκλοφορίας απεικονίζονται στα Σχήματα 3-1)α, 3-1)β και των οδών με ενιαία επιφάνεια κυκλοφορίας στα Σχήματα 3-2)α, 3-2)β. Οι ενδιάμεσες τυπικές διατομές (βλέπε παράγραφο 2) απεικονίζονται στο Σχήμα 3-3.
Οι πλήρεις περιγραφές των τυπικών διατομών προκύπτουν από τα μέρη που συνθέτουν τις διατομές. Έτσι, με την περιγραφή τυπική διατομή β6νσ νοείται:
| • | β η ομάδα διατομών με βασικό πλάτος λωρίδας κυκλοφορίας 3,50 m, |
| • | 6 το πλήθος των λωρίδων κυκλοφορίας και για τις δύο κατευθύνσεις, |
| • | ν η κεντρική νησίδα με δυο μονόπλευρα στηθαία New Jersey ή με αμφίπλευρο μεταλλικό στηθαίο, με ενδιάμεσο χώρο που μπορεί να πληρούται από φυτική γη ή άλλο υλικό. |
| • | ν* η κεντρική νησίδα με αμφίπλευρο στηθαίο (μεταλλικό ή New Jersey) εδραζόμενο ή πακτούμενο επί του οδοστρώματος. |
| • | σ το σταθεροποιημένο έρεισμα (λωρίδα έκτακτης ανάγκης για οδούς με διαχωρισμένες επιφάνειες κυκλοφορίας / λωρίδα πολλαπλών χρήσεων για οδούς με ενιαία επιφάνεια κυκλοφορίας). |
Επισημαίνεται ότι η επιλογή του είδους και του τύπου του στηθαίου ασφαλείας (μεταλλικού η New Jersey) υπόκειται σε κανόνες οι οποίοι θα προσδιορίζονται σε σχετικό τεύχος οδηγιών που θα εκπονηθούν.
Τα λειτουργικά χαρακτηριστικά εφαρμογής των τυπικών διατομών των Σχημάτων 3-1, 3-2 και 3-3 δίνονται στον Πίνακα 3-1. Οι αναγραφόμενοι κυκλοφοριακοί φόρτοι αναφέρονται:
| • | για τις οδούς με διαχωρισμένες επιφάνειες κυκλοφορίας στη μια κατεύθυνση, |
| • | για τις οδούς με ενιαία επιφάνεια κυκλοφορίας, και στις δύο κατευθύνσεις. |
Οι τιμές των φόρτων πρέπει να θεωρηθεί ότι αντιπροσωπεύουν προσεγγιστικές τιμές. Σε όλες τις περιπτώσεις αναφέρονται σε οδικά τμήματα εκτός της επιρροής ισόπεδων ή / και ανισόπεδων κόμβων. Ισχύουν, για συμμετοχή των φορτηγών οχημάτων στην κυκλοφορία κατά ποσοστό 10%, για μηδενική κατά μήκος κλίση, και για μέση ελικτότητα 0 gon/km.

Σχήμα 3-1)α: Τυπικές διατομές οδών με διαχωρισμένες επιφάνειες κυκλοφορίας (οι τιμές σε παρένθεση ισχύουν σε περίπτωση αυξημένου ποσοστού κυκλοφορίας βαρέων οχημάτων)

Σχήμα 3-1)β: Τυπικές διατομές οδών με διαχωρισμένες επιφάνειες κυκλοφορίας (οι τιμές σε παρένθεση ισχύουν σε περίπτωση αυξημένου ποσοστού κυκλοφορίας βαρέων οχημάτων)

π: πλάτος μη σταθεροποιημένου ερείσματος (δίνεται στο Παράρτημα Ι ανάλογα με την κατηγορία της διατομής)
Σχήμα 3-2)α: Τυπικές διατομές οδών με ενιαία επιφάνεια κυκλοφορίας

π: πλάτος μη σταθεροποιημένου ερείσματος (δίνεται στο Παράρτημα Ι ανάλογα με την κατηγορία της διατομής)
Σχήμα 3-2)β: Τυπικές διατομές οδών με ενιαία επιφάνεια κυκλοφορίας

κ: πλάτος εσωτερικής λωρίδας καθοδήγησης
ν*: πλάτος στηθαίου
π, π1, π2: πλάτος μη σταθεροποιημένου ερείσματος
Σημείωση: Τα πλάτη κ, ν*, π, π1, π2 δίνονται στο Παράρτημα Ι
Σχήμα 3-3: Ενδιάμεσες τυπικές διατομές οδών
Πίνακας 3-1: Παράμετροι και κριτήρια επιλογής τυπικής διατομής
Κατηγορία οδού
|
Κυκλοφοριακός
φόρτος
(οχήματα / h)
|
Ιδιαίτερα κριτήρια
|
Τυπική διατομή
|
Είδος οχημάτων
|
Επιτρεπόμενη ταχύτητα
VΕΠΙΤΡ
(km/h)
|
Κόμβοι
|
Ταχύτητα Μελέτης VE (km/h)
|
μέσος
|
ΠΙΠ
|
Π3Χ
|
1
|
2
|
3
|
4
|
5
|
6
|
7
|
8
|
9
|
10
|
Α Ι
|
4950
|
3100
|
5200
|
|
α 6 ν σ
|
μηχανοκίνητα
|
≤ 120
|
ανισόπεδοι
|
(130 120 110 100
|
3300
|
2100
|
3450
|
|
α 4 ν σ
|
μηχανοκίνητα
|
≤ 120
|
ανισόπεδοι
|
(130 120 110 100
|
2050
|
1050
|
2300
|
|
β 2+1
|
μηχανοκίνητα
|
≤ 90
|
ανισόπεδοι (ισόπεδοι)
|
(100 90 (80)
|
Α ΙΙ
|
4500
|
3100
|
5200
|
|
β 6 ν σ
|
μηχανοκίνητα
|
≤ 110
|
ανισόπεδοι
|
(120 110 100 90 (80)
|
3000
|
2100
|
3450
|
|
β 4 ν σ
|
μηχανοκίνητα
|
≤ 110
|
ανισόπεδοι
|
110 100 90 (80)
|
3000
|
2100
|
3450
|
σε δυσχερή τμήματα
|
β 4 ν* σ
|
μηχανοκίνητα
|
≤ 110
|
ανισόπεδοι
|
110 100 90 (80)
|
2900
|
2000
|
3300
|
|
γ 4 ν σ
|
μηχανοκίνητα
|
≤ 110
|
ανισόπεδοι (ισόπεδοι)
|
110 100 90 (80)
|
28501
|
16501
|
32501
|
με ποσοστό βαρέων οχημάτων ≤ 15% και Ετήσια Μέση Ημερήσια Κυκλοφορία ≤ 25.000 οχήματα/24 h
|
γ 4 ν*
|
μηχανοκίνητα
|
≤ 100 (80)
|
ανισόπεδοι (ισόπεδοι)
|
(110 100 90 (80)
|
2050
|
1050
|
2300
|
|
β 2+1
|
μηχανοκίνητα
|
≤ 90
|
(ανισόπεδοι) ισόπεδοι
|
(100 90 80 (70)
|
1800
|
950
|
2100
|
πλήθος βραδυπορούντων οχημάτων / h > 10
|
β 2 σ 2
|
παντός τύπου
|
≤ 90
|
ισόπεδοι
|
(100 90 80 (70)
|
1700
|
800
|
2000
|
με περιορισμένη κυκλοφορία φορτηγών
|
β 2 2
|
παντός τύπου
|
≤ 90
|
ισόπεδοι
|
90 80 (70)
|
1650
|
700
|
1950
|
|
γ 2
|
παντός τύπου
|
≤ 90
|
ισόπεδοι
|
90 80 70
|
Α ΙΙΙ
|
28501
|
16501
|
32501
|
|
γ 4 ν*
|
μηχανοκίνητα
|
≤ 80
|
(ανισόπεδοι) ισόπεδοι
|
(90) 80 70
|
1800
|
900
|
2000
|
πλήθος βραδυπορούντων οχημάτων / h> 20
|
β 2 σ 2
|
παντός τύπου
|
≤ 90
|
ανισόπεδοι
|
90 80 70 60
|
1700
|
750
|
1850
|
με μεγάλη κυκλοφορία φορτηγών
|
β 2 2
|
παντός τύπου
|
≤ 90
|
ανισόπεδοι
|
90 80 70 60
|
1150
|
700
|
1950
|
|
γ 2
|
παντός τύπου
|
≤ 90
|
ανισόπεδοι
|
90 80 70 60
|
|
500
|
1950
|
|
δ 2
|
παντός τύπου
|
≤ 80
|
ανισόπεδοι
|
(90) 80 70 60
|
Α IV
|
1550
|
500
|
1850
|
με μεγάλη κυκλοφορία φορτηγών
|
δ 2
|
παντός τύπου
|
≤ 80
|
ανισόπεδοι
|
80 70 60 (50)
|
|
350
|
2050
|
|
ε 2
|
παντός τύπου
|
≤ 80
|
ανισόπεδοι
|
80 70 60 (50)
|
ΑV
|
|
|
|
|
ε 2
|
παντός τύπου
|
≤ (70) 60
|
ανισόπεδοι
|
(70) 60 50 40 καμία3
|
|
|
|
|
ζ 2
|
παντός τύπου
|
≤ (70) 50
|
ανισόπεδοι
|
(70) 60 50 40 καμία3
|
Β Ι
|
4500
|
3100
|
5200
|
|
β 6 ν σ
|
μηχανοκίνητα
|
≤ 100
|
ανισόπεδοι
|
100 90 80 70
|
3000
|
2100
|
3500
|
|
β 4 ν σ
|
μηχανοκίνητα
|
≤ 100
|
ανισόπεδοι
|
100 90 80 70
|
3000
|
2100
|
3500
|
σε δυσχερή τμήματα
|
β 4 ν
|
μηχανοκίνητα
|
≤ 100
|
ανισόπεδοι
|
100 90 80 70
|
2900
|
2000
|
3300
|
|
γ 4 ν σ
|
μηχανοκίνητα
|
≤ 90
|
ανισόπεδοι
|
90 80 70
|
28501
|
16501
|
32501
|
με ποσοστό βαρέων οχημάτων ≤ 15% και Ετήσια Μέση Ημερήσια Κυκλοφορία ≤ 25.000 οχήματα / 24 h
|
γ 4 ν*
|
μηχανοκίνητα
|
≤ 80
|
ανισόπεδοι
|
80 70
|
Β ΙΙ
|
3000
|
2100
|
3500
|
|
β 4 ν σ
|
μηχανοκίνητα
|
≤ 90
|
ανισόπεδοι
|
(100 90 80 70 (60)
|
3000
|
2100
|
3500
|
σε δυσχερή τμήματα
|
β 4 ν
|
μηχανοκίνητα
|
≤ 90
|
ανισόπεδοι
|
(100 90 80 70 (60)
|
2900
|
1950
|
3250
|
|
γ 4 ν σ
|
μηχανοκίνητα
|
≤ 90
|
ανισόπεδοι (ισόπεδοι)
|
(100 90 80 70 (60)
|
28501
|
16501
|
32501
|
με ποσοστό βαρέων οχημάτων ≤ 15% και Ετήσια Μέση Ημερήσια Κυκλοφορία ≤ 30.000 οχήματα / 24 h
|
γ 4 ν*
|
μηχανοκίνητα
|
≤ 80
|
ανισόπεδοι (ισόπεδοι)
|
90 80 70 60
|
Β ΙΙΙ
|
28501
|
16501
|
32501
|
|
γ 4 ν*
|
μηχανοκίνητα
|
≤ 70
|
ισόπεδοι
|
(80) 70 60 (50)
|
|
500
|
1950
|
|
δ 2
|
παντός τύπου
|
≤ 70
|
ισόπεδοι
|
70 60 (50)
|
Β IV
|
|
500
|
1950
|
|
δ 2
|
παντός τύπου
|
≤ 60
|
ισόπεδοι
|
60 50
|
1) Ενδεικτικές τιμές
2) Εφαρμόζεται σε περιπτώσεις μόνο περιορισμένης ανακατασκευής οδών. Εν γένει πρέπει να αποφεύγεται.
3) Δεν απαιτείται καθορισμός ταχύτητας μελέτης ( ) = εξαίρεση
Παρατήρηση: Οι αναγραφόμενοι κυκλοφοριακοί φόρτοι αναφέρονται:
| • | για τις οδούς με διαχωρισμένες επιφάνειες κυκλοφορίας, στη μια κατεύθυνση |
| • | για τις οδούς με ενιαία επιφάνεια κυκλοφορίας, και στις δύο κατευθύνσεις |
Κατά την επιλογή της τυπικής διατομής μιας οδού με ενιαία επιφάνεια κυκλοφορίας στην οποία ο κυκλοφοριακός φόρτος έχει ήδη φθάσει στο άνω όριο της ικανότητας της διατομής, πρέπει να λαμβάνεται υπόψη ότι μια διατομή με μια πρόσθετη λωρίδα κυκλοφορίας (τύπος β 2+1), ή μια διατομή με διαχωρισμένες επιφάνειες κυκλοφορίας και τέσσερις λωρίδες κυκλοφορίας, συχνά προσαρμόζεται πολύ καλά σε οριακές και κρίσιμες συνθήκες κυκλοφορίας καθώς επίσης και στο τοπίο με μικρές σχετικά επιπτώσεις στο περιβάλλον. Η υιοθέτηση μιας διατομής με διαχωρισμένες επιφάνειες κυκλοφορίας για την αντιμετώπιση υψηλών ποιοτικών απαιτήσεων κυκλοφορίας μπορεί να οδηγεί στην εξασφάλιση επαρκών μηκών προσπέρασης και στην επιλογή μεγάλων τιμών των γεωμετρικών παραμέτρων κατά τη χάραξη της οδού. Η ποιότητα κυκλοφορίας είναι επίσης καλύτερη σε οδούς με διαχωρισμένες επιφάνειες κυκλοφορίας, λόγω της δυνατότητας προσπέρασης και αλλαγής λωρίδας κυκλοφορίας. Επιπλέον οι οδοί αυτού του τύπου όπου οι δύο αντίθετες κατευθύνσεις κυκλοφορίας διαχωρίζονται δομικά με την κεντρική νησίδα, προσφέρουν βασικό πλεονέκτημα από την άποψη της οδικής ασφάλειας.
2. Ενδιάμεσες τυπικές διατομές
Οι ενδιάμεσες τυπικές διατομές καλύπτουν το κενό που παρατηρείται μεταξύ της αναμενόμενης κυκλοφοριακής ικανότητας μίας τυπικής διατομής οδού με ενιαία επιφάνεια κυκλοφορίας και δύο λωρίδες κυκλοφορίας (περίπου 12.000 οχήματα / 24 h) και μίας τυπικής διατομής οδού με διαχωρισμένες επιφάνειες κυκλοφορίας και τέσσερις λωρίδες κυκλοφορίας (περίπου 24.000 οχήματα / 24 h).
Οι ενδιάμεσες τυπικές διατομές είναι αποτέλεσμα ερευνών, σχετικών με τα παρεχόμενα επίπεδα ασφάλειας και κυκλοφοριακής ποιότητας (βλέπε Σχήμα 3-3 και για τα λειτουργικά τους χαρακτηριστικά και τα όρια εφαρμογής στον Πίνακα 3-1).
Με την εφαρμογή των ενδιάμεσων τυπικών διατομών εξασφαλίζεται η σημαντική βελτίωση της οδικής ασφάλειας ενώ ταυτόχρονα οι απαιτούμενες επιφάνειες κατάληψης παραμένουν μικρές. Έτσι, τόσο το κόστος κατασκευής όσο και το κόστος συντήρησης καθώς και οι επεμβάσεις στο φυσικό περιβάλλον της οδού παραμένουν σε χαμηλά επίπεδα.
Στα επόμενα γίνεται ιδιαίτερη αναφορά στα κριτήρια επιλογής των ενδιάμεσων τυπικών διατομών β 2+1 και γ 4 ν *.
2.1. Κριτήρια επιλογής των ενδιαμέσων τυπικών διατομών
Μια ενδιάμεση τυπική διατομή επιλέγεται μόνο για οδούς που εξυπηρετούν αποκλειστικά μηχανοκίνητη κυκλοφορία (βλέπε Σχήμα 3-4):

Σχήμα 3-4: Όρια τιμών κυκλοφοριακών φόρτων για ενδιάμεσες διατομές
| • | όταν ο αναμενόμενος φόρτος κυκλοφορίας κυμαίνεται μεταξύ 5.000 και 10.000 οχήματα / 24 h, συνήθως δεν απαιτείται η διαμόρφωση της διατομής της οδού ως ενδιάμεσης. Εφόσον όμως αναμένεται αύξηση του κυκλοφοριακού φόρτου στο μέλλον, συνιστάται η εφαρμογή της τυπικής διατομής β 2+1. Μια άλλη εναλλακτική πρόταση στην προκείμενη περίπτωση με ικανοποιητικό επίπεδο εξυπηρέτησης, αποτελούν οι οδοί δύο λωρίδων κυκλοφορίας που διαθέτουν ιδιαίτερη επιφάνεια κίνησης πεζών και ποδηλάτων (πεζόδρομος / ποδηλατόδρομος). |
| • | όταν ο αναμενόμενος κυκλοφοριακός φόρτος κυμαίνεται μεταξύ 10.000 και 15.000 οχήματα / 24 h, κατά κανόνα θεωρείται σκόπιμη η επιλογή της τυπικής διατομής β 2+1. Η διαμόρφωση των κόμβων ως ανισόπεδων αυξάνει την ασφάλεια και εξασφαλίζει την καλή ποιότητα κυκλοφοριακής ροής (υψηλές ταχύτητες κίνησης). Η διαμόρφωση των κόμβων παρόλα αυτά ως ισόπεδων δεν είναι απαγορευτική. |
| • | όταν ο αναμενόμενος κυκλοφοριακός φόρτος κυμαίνεται μεταξύ 15.000 και 25.000 οχήματα / 24 h. Τότε εφαρμόζεται η τυπική διατομή β 2+1 (για φόρτους έως 20.000 οχήματα / 24 h περίπου), ή η τυπική διατομή γ 4 ν * (για φόρτους έως 25.000 οχήματα / 24 h περίπου). Κρίνεται σκόπιμο, οι κόμβοι να διαμορφώνονται ως ανισόπεδοι στις οδούς με τυπική διατομή β 2+1 με τους προαναφερόμενους φόρτους, προκειμένου να επιτυγχάνεται μία αντίστοιχη ποιότητα κυκλοφοριακής ροής, ιδιαίτερα στις περιόδους των διακοπών και των αργιών. |
| • | όταν ο αναμενόμενος κυκλοφοριακός φόρτος υπερβαίνει τα 25.000 οχήματα / 24 Κ. Σε αυτήν την περίπτωση εφαρμόζεται η τυπική διατομή γ 4 ν *. Οι κόμβοι διαμορφώνονται ως ανισόπεδοι. |
2.2. Διατομή β 2+1
2.2.1. Διαμόρφωση και κυκλοφοριακή ρύθμιση
Η τυπική διατομή β 2+1 έχει 3 λωρίδες κυκλοφορίας, εκ των οποίων η μεσαία εξυπηρετεί την προσπέραση των βραδυπορούντων οχημάτων και η οποία διατίθεται εναλλάξ και στις δύο κατευθύνσεις κυκλοφορίας. (βλέπε Σχήματα 3-3 και 3-5).
Η τυπική διατομή β 2+1 είναι κατάλληλη όχι μόνον κατά την κατασκευή νέων οδών αλλά συνιστάται ιδιαίτερα κατά την ανακατασκευή ή βελτίωση υφιστάμενων οδών ή την αλλαγή της οριζόντιας σήμανσης. Σε αυτές τις περιπτώσεις επιτρέπεται ο κατάλληλος περιορισμός των διαστάσεων των επί μέρους στοιχείων της τυπικής διατομής που αναγράφονται στον Πίνακα 3-2 και στο Σχήμα 3-3, διαφορετικά είναι απαραίτητη η διαπλάτυνση του οδοστρώματος (βλέπε ελάχιστες διαστάσεις στον Πίνακα 3-2).
Πίνακας 3-2: Τυπικές και ελάχιστες διαστάσεις της διατομής β 2+1
Στοιχεία διατομής
|
Τυπική διάσταση
(m)
|
Ελάχιστη διάσταση μόνο για υφιστάμενα έργα (m)
|
λωρίδα κυκλοφορίας
κατεύθυνση με μία λωρίδα:
κατεύθυνση με δύο λωρίδες
αριστερά:
δεξιά:
|
3,75
3,75
3,50
|
3,50
3,75
3,25
|
λωρίδα καθοδήγησης
|
0,25
|
0,25
|
εύρος οδοστρώματος
|
11,50
|
11,00
|
έρεισμα μη σταθεροποιημένο
κατεύθυνση με μία λωρίδα (π1)
κατεύθυνση με δύο λωρίδες (π2)
|
2,50
1,50
|
2,00
1,50
|
εύρος καταστρώματος
|
15,50
|
14,50
|
Κατά την εφαρμογή των ελαχίστων διαστάσεων, πρέπει να εξετάζεται το ενδεχόμενο μείωσης της επιτρεπόμενης ταχύτητας (VΕΠΙΤΡ), σε σχέση με το προκύπτον επίπεδο εξυπηρέτησης. Ταυτόχρονα συνιστάται η επιβολή απαγόρευσης προσπέρασης στα φορτηγά οχήματα (πινακίδα με κωδικό Ρ-31 του Κώδικα Οδικής Κυκλοφορίας με την πρόσθετη πινακίδα 7,5 t) στην κατεύθυνση με τις δύο λωρίδες κυκλοφορίας.
Επισημαίνεται ότι η τυπική διατομή β 2+1 εφαρμόζεται σε οδούς ταχείας κυκλοφορίας που χρησιμοποιούνται μόνο από τη μηχανοκίνητη κυκλοφορία (πινακίδα με κωδικό Π- 26 του Κώδικα Οδικής Κυκλοφορίας). Αυτό σημαίνει ότι σε αυτές τις οδούς απαγορεύεται να κυκλοφορούν πεζοί, ποδήλατα, αγροτικά μηχανήματα κ.λ.π.
Στα επόμενα δίνονται στοιχεία σχετικά με τη διαμόρφωση και τον εξοπλισμό των οδών με τυπική διατομή β 2+1, που πρέπει να λαμβάνονται υπόψη κατά τη μελέτη και τα οποία είναι:
| • | το μήκος των τμημάτων με μια ή δύο λωρίδες κυκλοφορίας |
| • | τη θέση της κρίσιμης μεταβολής της διατομής (σύμπτυξη δύο λωρίδων κυκλοφορίας σε μια) |
| • | τη διαμόρφωση των επιφανειών αποκλεισμού |
| • | τις ιδιαίτερες λειτουργικές απαιτήσεις σε περιοχές κόμβων |
| • | την οριζόντια και κατακόρυφη σήμανση. |
2.2.2. Μήκος των τμημάτων με μια ή δύο λωρίδες κυκλοφορίας
Σε μια οδό από την άποψη της κυκλοφοριακής ροής (για την αποφυγή δημιουργίας ουράς οχημάτων) θεωρείται πλεονέκτημα η ύπαρξη τμημάτων μεγάλου μήκους με δύο λωρίδες κυκλοφορίας και τμημάτων μικρού μήκους με μια λωρίδα κυκλοφορίας, που μειώνουν τον κίνδυνο της παραβίασης της απαγόρευσης της προσπέρασης, η οποία είναι ουσιαστική για την οδική ασφάλεια.
Τα μήκη των επιμέρους οδικών τμημάτων με μια και δύο λωρίδες κυκλοφορίας πρέπει να υπολογίζονται έτσι, ώστε η ουρά οχημάτων που δημιουργείται στα τμήματα με τη μία λωρίδα κυκλοφορίας να παύει να υπάρχει στα τμήματα με τις δύο λωρίδες κυκλοφορίας και έτσι να εξομαλύνεται η ροή της κυκλοφορίας. Γι' αυτό το λόγο τα οδικά τμήματα με δύο λωρίδες κυκλοφορίας πρέπει να έχουν μήκος τουλάχιστον 800 Μ. Το μήκος αυτό καλόν είναι να μην υπερβαίνει τα 2.000 Μ, επειδή στην αντίθετη περίπτωση η δημιουργία ουράς οχημάτων στο αντίθετο ρεύμα με τη μια λωρίδα κυκλοφορίας θα είναι πολύ πιθανή, με αποτέλεσμα τη συχνή παραβίαση της απαγόρευσης της προσπέρασης.
Το μήκος των οδικών τμημάτων με μία λωρίδα κυκλοφορίας, εφόσον στη σύνθεση της κυκλοφορίας το ποσοστό των φορτηγών οχημάτων είναι περίπου μέχρι 15%, πρέπει να κυμαίνεται μεταξύ 1.000 m και 1.400 m. Υψηλότερα ποσοστά συμμετοχής φορτηγών οχημάτων επιβάλλουν τη μείωση των προαναφερόμενων μηκών. Οι τοπικές συνθήκες, όπως τα ανωφερικά τμήματα και οι θέσεις των κόμβων, επηρεάζουν σε μεγαλύτερο βαθμό την επιλογή των θέσεων μεταβολής της διατομής από ότι τα προαναφερόμενα μήκη, που βασίζονται αποκλειστικά σε δεδομένα κυκλοφοριακής τεχνικής.
2.2.3. Θέση κρίσιμης μεταβολής της διατομής
Για την ασφάλεια των οδών με τυπική διατομή β 2+1 παίζουν ιδιαίτερα σημαντικό ρόλο η διαμόρφωση καθώς και η οριζόντια και κατακόρυφη σήμανση στην περιοχή μεταβολής της διατομής (βλέπε Σχήμα 3-5). Τα σημεία όπου εμφανίζεται στένωση της διατομής προς μία κατεύθυνση, όπου οι δύο λωρίδες κυκλοφορίας γίνονται μία, χαρακτηρίζονται ως κρίσιμα (κρίσιμη μεταβολή). Αντίθετα τα σημεία όπου προκύπτει διεύρυνση της διατομής προς την κατεύθυνση όπου η μία λωρίδα κυκλοφορίας γίνεται δύο, χαρακτηρίζονται ως μη κρίσιμα (μη κρίσιμη μεταβολή). Η ελάχιστη απόσταση μεταξύ κρίσιμης και μη κρίσιμης επιφάνειας αποκλεισμού πρέπει να είναι ίση περίπου με 1.000 m.
Όταν τα τμήματα με δύο λωρίδες κυκλοφορίας βρίσκονται σε ανωφέρεια, η εμπλοκή της βραδείας με την ταχεία κυκλοφορία μπορεί να αποφεύγεται με την επιβολή απαγόρευσης προσπέρασης στα φορτηγά οχήματα.
Για την επιλογή των θέσεων μεταβολής της διατομής ισχύουν τα ακόλουθα κριτήρια:
| • | Οι θέσεις μεταβολής των διατομών γίνονται εκεί όπου ο οδηγός μπορεί να επικεντρώσει την προσοχή του αποκλειστικά στην αλλαγή της δικής του ή μιας άλλης λωρίδας κυκλοφορίας, δηλαδή σε περιοχές με καλή εποπτικότητα και κατά το δυνατόν σε τεταμένη χάραξη. Οι κρίσιμες θέσεις μεταβολής της διατομής (σύμπτυξη δύο λωρίδων κυκλοφορίας σε μια) πρέπει να αποφεύγονται σε τμήματα με ανεπαρκή εποπτικότητα. |
| • | Οι μεταβολές της διατομής δεν πρέπει να λαμβάνουν χώρα σε περιοχές όπου είναι πιθανή η ολισθηρότητα του οδοστρώματος σε περίπτωση παγετού (π.χ. σε γέφυρες). |
| • | Σε οριζόντιες καμπύλες με μικρή ακτίνα, το τμήμα με τις δύο λωρίδες κυκλοφορίας πρέπει να διατάσσεται στην εξωτερική πλευρά της καμπύλης. Στην αντίθετη περίπτωση μπορεί να θεωρηθεί ασφαλέστερη η διακοπή των τριών λωρίδων κυκλοφορίας πριν από την καμπύλη και η διαγράμμιση της μεσαίας λωρίδας ως επιφάνειας αποκλεισμού. Ακόμη, σ' αυτήν την περιοχή πρέπει να εξετάζεται και ο δομικός διαχωρισμός των αντιθέτων ρευμάτων κυκλοφορίας. |
| • | Σε ανωφερικά τμήματα συνιστάται η κατασκευή δύο λωρίδων κυκλοφορίας στην ανωφέρεια. Η αρχή και το τέλος του τμήματος με τις δύο λωρίδες κυκλοφορίας προσδιορίζονται σύμφωνα με τις οδηγίες για τις πρόσθετες λωρίδες κυκλοφορίας, σύμφωνα με τις οποίες είναι δυνατόν να προκύψουν οδικά τμήματα με τέσσερις λωρίδες κυκλοφορίας σε περιοχές κυρτών κατακόρυφων καμπυλών. Σ' αυτήν την περίπτωση είναι σκόπιμος ο δομικός διαχωρισμός των αντιθέτων ρευμάτων κυκλοφορίας. |
| • | Για λόγους ασφαλείας συνιστάται η κατασκευή τμημάτων με μία λωρίδα κυκλοφορίας πριν από τη διέλευση από κατοικημένες περιοχές (προαστιακά οδικά τμήματα), δεδομένου ότι οι σειρές οχημάτων που δημιουργούνται εισέρχονται στην κατοικημένη περιοχή με μικρότερες ταχύτητες. |
2.2.4. Κόμβοι στην περιοχή μεταβολής της διατομής
Αν η αρχή της λωρίδας προσπέρασης (μη κρίσιμη μεταβολή της διατομής) βρίσκεται στην περιοχή ενός κόμβου, τότε η μη κρίσιμη μεταβολή της διατομής ή / και η θέση του κόμβου πρέπει να μετατεθούν έτσι ώστε να είναι δυνατή μια λύση σύμφωνα με τα Σχήματα 3-6)α και 3-6)γ. Σε αυτήν την περίπτωση δεν τοποθετείται πινακίδα καθοδήγησης για την αναγγελία της διεύρυνσης, προκειμένου να αποφεύγεται η επικάλυψη της πληροφοριακής σήμανσης του κόμβου.
Στην περιοχή της λωρίδας προσπέρασης πρέπει κατά το δυνατόν να αποφεύγονται οι κόμβοι. Η λωρίδα προσπέρασης δεν επιτρέπεται να χρησιμοποιείται ως λωρίδα αναμονής για αριστερή στροφή. Αυτό επιτρέπεται να γίνεται μόνο μέσα σε οικισμούς.
Όταν το τέλος της λωρίδας προσπέρασης (κρίσιμη μεταβολή της διατομής) βρίσκεται στην περιοχή ενός κόμβου, τότε η κρίσιμη μεταβολή της διατομής ή / και η θέση του κόμβου πρέπει να μετατεθούν έτσι, ώστε να είναι δυνατή μια λύση σύμφωνα με τα Σχήματα 3-6)β και 3-6)δ.

Σχήμα 3-5: Διαμόρφωση και σήμανση στην περιοχή μεταβολής της διατομής σε οδούς με διατομή β 2+1

δ) Ανισόπεδος κόμβος κατά μήκος οδού με διατομή β 2+1 σε περιοχή με κρίσιμη μεταβολή της διατομής
Σχήμα 3-6: Κόμβοι στην περιοχή μεταβολής της διατομής σε οδικά τμήματα με τυπική διατομή β 2+1
2.2.5. Οριζόντια και κατακόρυφη σήμανση
Η οριζόντια και η κατακόρυφη σήμανση στις περιοχές μεταβολής της διατομής γίνεται σύμφωνα με το Σχήμα 3-5. Ο διαχωρισμός των δύο αντιθέτων κατευθύνσεων κυκλοφορίας γίνεται με διπλή διαχωριστική γραμμή και τοποθέτηση ανακλαστήρων οδών ανά 10 m στον ενδιάμεσο χώρο, σε όλο το μήκος της οδού
2.3. Διατομή τύπου γ 4 ν *
Η χρήση αμφίπλευρων στηθαίων ασφαλείας είτε χαλύβδινων είτε σκυροδέματος τύπου New Jersey επιτρέπει τη μείωση του πλάτους της κεντρικής νησίδας οδών με διαχωρισμένες επιφάνειες κυκλοφορίας. Γι' αυτό το λόγο τέτοια στηθαία χρησιμοποιούνται κατά το διαχωρισμό των αντιθέτων ρευμάτων κυκλοφορίας σε υφιστάμενες οδούς, καθώς επίσης και όταν οι υφιστάμενες συνθήκες επιβάλλουν τον περιορισμό του πλάτους μιας οδού (βλέπε Σχήμα 3-3).
Με την εφαρμογή της διατομής γ 4 ν * επιτυγχάνεται ο εκ των υστέρων δομικός διαχωρισμός των αντιθέτων ρευμάτων κυκλοφορίας σε περιπτώσεις ανακατασκευής ή βελτίωσης υφιστάμενων οδών, ή αλλαγής της οριζόντιας σήμανσης
Ακόμη, εφαρμόζεται στην περίπτωση όπου οι υφιστάμενες συνθήκες επιβάλλουν τον περιορισμό των διαστάσεων των επί μέρους στοιχείων της διατομής σύμφωνα με τον Πίνακα 3-3.
Πίνακας 3-3: Τυπικές και ελάχιστες διαστάσεις της διατομής γ 4 ν *
Διάσταση
|
Τυπική (m)
|
Ελάχιστη* (m)
|
Στοιχεία διατομής
|
Είδος στηθαίου
|
NJ
|
Μεταλλικό
|
NJ
|
Μεταλλικό
|
λωρίδα κυκλοφορίας
εξωτερική:
εσωτερική:
|
3,25
3,25
|
3,25
3,25
|
3,25
3,00
|
3,25
3,00
|
λωρίδα καθοδήγησης
εξωτερική:
εσωτερική:
|
0,50 0,74*
|
0,50
0,65
|
0,25
0,69*
|
0,25
0,60
|
κεντρική νησίδα
|
0,61
|
0,80
|
0,61
|
0,80
|
εύρος οδοστρώματος
|
16,10
|
16,10
|
15,00
|
15,00
|
έρεισμα μη σταθεροποιημένο
|
1,50
|
1,50
|
1,40
|
1,40
|
εύρος καταστρώματος
|
19,10
|
19,10
|
17,80
|
17,80
|
* διαστάσεις σε περιπτώσεις διαχωρισμού κατευθύνσεων εκ των υστέρων
Σε αυτήν τη διατομή, επειδή το πλάτος των λωρίδων κυκλοφορίας είναι 3,25 m και δεν προβλέπεται λωρίδα εκτάκτου ανάγκης είναι απαραίτητος ο περιορισμός της μεγίστης επιτρεπομένης ταχύτητας. Πρέπει να προβλέπονται εσοχές σε κατάλληλες αποστάσεις, προκειμένου να παρέχεται η δυνατότητα έκτακτης στάσης χωρίς παρενόχληση της διερχόμενης κυκλοφορίας.
Κατά την εφαρμογή των ελαχίστων διαστάσεων (βλέπε Πίνακα 3-3), πρέπει να εξετάζεται το ενδεχόμενο μείωσης της επιτρεπόμενης ταχύτητας (VΕΠΙΤΡ), σε σχέση με το προκύπτον επίπεδο εξυπηρέτησης. Ταυτόχρονα πρέπει να επιβάλλεται απαγόρευση προσπέρασης στα φορτηγά οχήματα (πινακίδα με κωδικό Ρ-31 του Κώδικα Οδικής Κυκλοφορίας).
Τονίζεται ότι η διατομή γ 4 ν * εφαρμόζεται σε οδούς ταχείας κυκλοφορίας που εξυπηρετούν αποκλειστικά μηχανοκίνητη κυκλοφορία (πινακίδα με κωδικό Π-26 του Κώδικα Οδικής Κυκλοφορίας). Αυτό σημαίνει ότι σε αυτές τις οδούς απαγορεύεται να κυκλοφορούν πεζοί, ποδήλατα, αγροτικά μηχανήματα, κ.λ.π.
3. Πρόσθετοι κυκλοφοριακοί χώροι
3.1. Κυκλοφορία πεζών και ποδηλάτων
Στις οδούς των ομάδων Α και Β η κυκλοφορία των πεζών και των ποδηλάτων λαμβάνει χώρα κατά κανόνα στον ίδιο κυκλοφοριακό χώρο και δεν διαχωρίζεται. Αντίθετα, κοντά σε κατοικημένες περιοχές οι κυκλοφοριακοί χώροι των πεζών και των ποδηλάτων πρέπει να διαχωρίζονται και να επισημαίνονται με κατακόρυφη και οριζόντια σήμανση.
3.1.1. Διαμόρφωση πεζοδρόμων και ποδηλατοδρόμων
Οι πεζόδρομοι και οι ποδηλατοδρόμοι ως ανεξάρτητες πλευρικές οδοί παρέχουν τη μέγιστη κυκλοφοριακή ασφάλεια και μπορεί να διαμορφώνονται:
| • | ως ανεξάρτητες πλευρικές οδοί, ή |
| • | παράλληλα στο οδόστρωμα και να διαχωρίζονται από αυτό, είτε με κράσπεδα, είτε με πλευρικές διαχωριστικές νησίδες. |
Για την κυκλοφορία των ποδηλάτων, εκτός από τους ποδηλατοδρόμους, μπορούν να χρησιμοποιούνται:
| • | οι λωρίδες πολλαπλών χρήσεων και, |
| • | οι αγροτικές και δασικές οδοί. |
Εκτός από τα προαναφερόμενα ισχύουν και οι σχετικοί κανόνες για τη μελέτη των ποδηλατοδρόμων και πεζοδρόμων, που αναφέρονται στις παραγράφους 2.3.5, 2.3.6 και 2.3.7.
Ο συνδυασμός ποδηλατοδρόμου και πεζοδρόμου διαμορφώνεται σύμφωνα με το Σχήμα 3-7. Σε οδούς χωρίς παρόδια δόμηση, η διάταξη του πεζοδρόμου και του ποδηλατοδρόμου πέραν της τάφρου αποχέτευσης προσφέρει βασικά πλεονεκτήματα για την κυκλοφορία των πεζών και των ποδηλάτων (διαχωρισμός από τη μηχανοκίνητη κυκλοφορία, αδυναμία στάθμευσης οχημάτων, ανεξάρτητη χάραξη, καλύτερη προσαρμογή στο ανάγλυφο του εδάφους, διατήρηση της ζώνης αποχέτευσης ως περιοχής πρασίνου καλύτερες συνθήκες για τις εργασίες συντήρησης, αποφυγή κινδύνου θάμβωση, κ.α.
3.1.2. Οριακές τιμές για πεζοδρόμους και ποδηλατοδρόμους
Για τη διάταξη πεζοδρόμου και ποδηλατοδρόμου ισχύουν οι οριακές τιμές του Πίνακα 3-4. Στην περίπτωση που το αναμενόμενο πλήθος των πεζών ή / και των ποδηλάτων υπερβεί τις οριακές τιμές, πρέπει να προβλέπονται σταθεροποιημένα ερείσματα (λωρίδες πολλαπλών χρήσεων) ή πεζόδρομοι / ποδηλατοδρόμοι.
Όταν προβλέπονται σταθεροποιημένα ερείσματα για τους πεζούς, αυτά πρέπει να είναι σταθεροποιημένα και στις δύο πλευρές της οδού. Μπορούν να διαμορφώνονται πεζόδρομοι δίπλα σε πλευρικές διαχωριστικές νησίδες μόνο στη μια πλευρά της οδού.
Οι συνδυασμένοι πεζόδρομοι και ποδηλατοδρόμοι είναι δυνατόν να τοποθετούνται στη μια πλευρά, ή και στις δύο πλευρές της οδού. Η τοποθέτηση του συνδυασμένου πεζοδρόμου / ποδηλατοδρόμου μόνο προς τη μια πλευρά μιας οδού επιβάλλεται για λόγους οικονομίας.
3.2. Αγροτική κυκλοφορία
Τα αγροτικά μηχανήματα μπορούν να κινούνται στο οδόστρωμα, στη λωρίδα πολλαπλών χρήσεων (τυπική διατομή β 2 σ) ή σε παράπλευρες οδούς. Η κίνηση των αγροτικών μηχανημάτων σε παράπλευρες οδούς επιβάλλεται, όταν η οδός έχει χαρακτηρισθεί ως οδός ταχείας κυκλοφορίας (οδός μόνο για μηχανοκίνητη κυκλοφορία), ενώ είναι επιθυμητή για λόγους ασφαλείας σε οδούς των κατηγοριών Α ΙΙ και Α ΙΙΙ, στις οποίες επιτρέπεται να κυκλοφορούν παντός τύπου οχήματα.
Εκτός από τους προαναφερόμενους λόγους πρέπει να επιτρέπεται η κυκλοφορία των αγροτικών μηχανημάτων μόνο σε παράπλευρες οδούς, όταν από την κυκλοφοριακή ανάλυση προκύπτει μείωση του επιθυμητού επιπέδου εξυπηρέτησης.

Σχήμα 3-7: Συνδυασμός πεζοδρόμου και ποδηλατοδρόμου (λωρίδα π/π)
Πίνακας 3-4: Λειτουργικά όρια κυκλοφοριακών φόρτων για την κατασκευή πεζόδρομων και ποδηλατοδρόμων
Φόρτος οδού
Μηχανοκίνητη
κυκλοφορία
(οχήματα / 24 h)
|
Ποδηλατοδρόμοι
Φόρτος δικύκλων
(ποδήλατα + μοτοποδήλατα / ώρα αιχμής)
|
Πεζόδρομοι
Κυκλοφορία πεζών
(πεζοί / ώρα αιχμής)
|
Συνδυασμός πεζόδρομων
και ποδηλατοδρόμων
Κυκλοφορία πεζών και ποδηλάτων
(ποδήλατα + πεζοί /
ώρα αιχμής)
|
σε σταθεροποιημένο
έρεισμα
|
σε πεζόδρομο δίπλα από παράπλευρες νησίδες
|
< 2 500
|
90
|
20
|
60
|
75
|
2 500 - 5 000
|
30
|
10
|
20
|
25
|
5 000 - 10 000
|
15
|
} πάντα
} απαραίτητο
|
10
|
15
|
> 10 000
|
10
|
5
|
10
|
Ανεξάρτητα από το πλήθος των πεζών, των ποδηλάτων και των μοτοποδηλάτων που κυκλοφορούν σε οδούς χωρίς παρόδια δόμηση με ταχύτητα μελέτης VE ≥ 80 km/h, απαιτείται η κατασκευή ειδικών πεζοδρόμων / ποδηλατοδρόμων, εφόσον δεν υπάρχουν άλλες εναλλακτικές διαδρομές.
Στην περίπτωση που οι μετρήσεις του φόρτου των πεζών και των ποδηλάτων είναι ημερήσιες, ως φόρτος αιχμής υπολογίζεται το 20% της ημερήσιας τιμής του.
|
Αν οι συνθήκες επιβάλλουν την κατασκευή συνδυασμού πεζοδρόμου / ποδηλατοδρόμου και είναι απαραίτητη η πρόσβαση σε γεωργικές και δασικές εκτάσεις πέραν των πρανών της κύριας οδού, είναι σκόπιμο η κυκλοφορία των πεζών και των ποδηλάτων, καθώς επίσης και των αγροτικών μηχανημάτων, να γίνεται σε μία κοινή παράπλευρη οδό. Τέτοιες παράπλευρες οδοί με συνδυασμό κυκλοφορίας αγροτικών μηχανημάτων και πεζών / ποδηλάτων παρέχουν μεγάλη ασφάλεια και εξυπηρέτηση για όλους τους χρήστες της οδού και επιπλέον επιτρέπουν την καλή προσαρμογή στο τοπίο.
3.3. Μέσα μαζικής μεταφοράς (ΜΜΜ)
Τα στοιχεία για τη διαμόρφωση του οδικού χώρου για τα μέσα μαζικής μεταφοράς αποτελούν αντικείμενο οδηγιών με τίτλο Μέσα Μαζικής Μεταφοράς ([Π] ΟΜΟΕ-ΜΜΜ) που δεν περιλαμβάνονται στις παρούσες οδηγίες.
Στα επόμενα δίνονται γενικά πληροφοριακά στοιχεία που αφορούν στο περιτύπωμα και στις τυπικές διατομές σύμφωνα με τους Γερμανικούς κανονισμούς μελετών οδών (RAS) Μέρος: Διαμόρφωση χώρου για τα μέσα Μαζικής Μεταφοράς, Τμήμα 1: Τροχιόδρομοι, Έκδοση 1977 και Τμήμα 2: Λεωφορεία και Ηλεκτροκίνητα Λεωφορεία, Έκδοση 1979.
3.3.1. Κυκλοφορία λεωφορείων
Σε οδούς των ομάδων διατομών β έως ε είναι δυνατή η λειτουργία λεωφορειακής γραμμής χωρίς περιορισμούς.
Οι μέγιστες διαστάσεις των λεωφορείων είναι:
πλάτος (χωρίς καθρέπτες)
|
2,5 m
|
ύψος
|
4,0 m
|
μήκος για κανονικά λεωφορεία
|
12,0 m
|
μήκος για αρθρωτά λεωφορεία
|
18,0 m
|
Το περίγραμμα του περιτυπώματος πρέπει να έχει επαρκείς διαστάσεις, ώστε να συμπεριλαμβάνει τα ηλεκτρολογικά εξαρτήματα για τα ηλεκτροκίνητα λεωφορεία καθώς και τις αναρτήσεις των ηλεκτροφόρων καλωδίων κάτω από τεχνικά έργα (βλέπε Σχήμα 3-8).
Για τις αναστροφές των λεωφορείων πρέπει να εφαρμόζονται οι ελάχιστες διαστάσεις για εσωτερική ακτίνα 8,00 m και για εξωτερική ακτίνα 15,00 m.
Το τυπικό πλάτος της λωρίδας κυκλοφορίας στους λεωφορειοδρόμους κατά την κατασκευή νέων οδών είναι 3,50 m στις ευθυγραμμίες, ενώ το ελάχιστο πλάτος (λαμβανομένων υπόψη των διαστάσεων του εξωτερικού καθρέπτη του λεωφορείου) 3,15 m. Είναι δυνατόν το πλάτος της λωρίδας να μειωθεί στα 3,00 m μόνο στην περίπτωση λωρίδων για λεωφορεία χωρίς αντίθετη κυκλοφορία (π.χ. η μεσαία λωρίδα από τις τρεις λωρίδες μιας κατεύθυνσης). Σε καμπύλα τμήματα απαιτείται διαπλάτυνση των λωρίδων ανάλογη του εύρους κατάληψης του οχήματος.
Όταν η ύπαρξη στάσεων λεωφορείων επιφέρει μείωση του επιπέδου εξυπηρέτησης της οδού, της ασφάλειας και της συνεχούς ροής της κυκλοφορίας συνιστάται η κατασκευή εσοχών.
Κατά την από κοινού χρήση της ζώνης των Μέσων Μαζικής Μεταφοράς στην περιοχή των νησίδων για τις στάσεις των λεωφορείων, πρέπει το περιτύπωμα και το πλάτος της λωρίδας κυκλοφορίας στην περιοχή της στάσης να είναι εκείνα που προβλέπονται για τα λεωφορεία (βλέπε Σχήμα 3-8). Παράλληλα πρέπει να διαχωρίζονται μεταξύ τους με δομικά μέσα ή τουλάχιστον οπτικά, οι επιφάνειες κυκλοφορίας και οι επιφάνειες αναμονής των επιβατών.
Κατά κανόνα πρέπει να αποφεύγονται οι στάσεις λεωφορείων κατά μήκος και στο πέρας κατωφερειών με κλίσεις ≥ 5%.
Στις στάσεις λεωφορείων είναι απαραίτητες οι εγκαταστάσεις για την προστασία από τις καιρικές συνθήκες (υπόστεγα, χώροι αναμονής, προστατευτικά τοιχία) και, αν κρίνεται σκόπιμο, η χρήση διαχωριστικών πλεγμάτων. Οι αρχές για τη διάταξη, τις διαστάσεις και τη διαμόρφωση των στάσεων είναι ανάλογες αυτών που ισχύουν για τις στάσεις των τροχιοδρόμων (βλέπε Σχήματα 3-9 και 3-10).
3.3.2. Μέσα σταθερής τροχιάς
Το ελάχιστο πλάτος των διαχωριστικών νησίδων μεταξύ του οδοστρώματος και του σώματος γραμμών του τροχιοδρόμου αποτελείται από τον πλευρικό χώρο ασφαλείας της οδού, την απόσταση ασφαλείας προς την πλευρά του τροχιοδρόμου και τα πρόσθετα πλάτη για τα διάφορα κατασκευαστικά στοιχεία. Τα τυπικά πλάτη αναφέρονται στην παράγραφο 2.3.
Οι διαχωριστικές νησίδες στις οδούς, όπου η μέγιστη επιτρεπόμενη ταχύτητα είναι VΕΠΙΤΡ = 70 km/h, διαμορφώνονται πάντα με κράσπεδο προς την πλευρά της οδού.
Σε εκείνες τις οδούς στις οποίες ισχύει όριο ταχύτητας μεγαλύτερο των 70 km/h απαιτείται η τοποθέτηση συνεχών διαχωριστικών στοιχείων. Για τον υπολογισμό του πλάτους της διαχωριστικής νησίδας πρέπει να λαμβάνονται υπόψη τα εξής:
| • | διαχωριστικές νησίδες χωρίς κατασκευαστικά στοιχεία. |
Το πλευρικό όριο του περιτυπώματος της οδού ταυτίζεται με το περίγραμμα του οχήματος του μέσου σταθερής τροχιάς.
| • | διαχωριστικές νησίδες με εύκολα παραμορφούμενα κατασκευαστικά στοιχεία. |
Οι ορθοστάτες πινακίδων με Φ ≤ 8 cm επιτρέπεται να τοποθετούνται στο όριο του ελεύθερου εμποδίων χώρου προς την πλευρά της οδού. Το υπόλοιπο ήμισυ της πινακίδας καθώς και η ελάχιστη απαιτούμενη απόσταση των 0,15 m προς την πλευρά των γραμμών του τροχιοδρόμου προστίθεται στο συνολικό πλάτος της διαχωριστικής νησίδας. Στις στάσεις η απόσταση μεταξύ της πινακίδας και του περιγράμματος των οχημάτων αυξάνεται από 0,15 m σε 0,50 m.
| • | διαχωριστικές νησίδες με μεμονωμένα σταθερά κατασκευαστικά στοιχεία. |
Δεν επιτρέπεται η προεξοχή μεμονωμένων στοιχείων, όπως ιστοί ή σηματοδότες, στον ελεύθερο εμποδίων χώρο προς την πλευρά της οδού.

Σχήμα 3-8: Διαστάσεις ελεύθερου εμποδίων χώρου για λεωφορεία

Σχήμα 3-9: Ελάχιστες διαστάσεις για χωριστές στάσεις λεωφορείων και τροχιοδρόμων

Σχήμα 3-10: Ελάχιστες διαστάσεις για κοινές στάσεις λεωφορείων και τροχιοδρόμων
| • | διαχωριστικές νησίδες με συνεχή διαχωριστικά στοιχεία. |
Οι οδοί, στις οποίες το ισχύον όριο ταχύτητας υπερβαίνει τα 70 km/h, διαχωρίζονται από τις εγκαταστάσεις των μέσων σταθερής τροχιάς με συμπαγή διαχωριστικά στοιχεία όπως π.χ. τοιχία ή στηθαία ασφαλείας. Πάσσαλοι, διαχωριστικές αλυσίδες, ή κιγκλιδώματα δεν θεωρούνται κατά κανόνα επαρκή διαχωριστικά στοιχεία.
Η περίπτωση τοποθέτησης γραμμών τροχιοδρόμων μέσα στο οδόστρωμα κυκλοφορίας των αυτοκινήτων να αποτελεί αντικείμενο Οδηγιών με τίτλο Μέσα Μαζικής Μεταφοράς ([Π] ΟΜΟΕ-ΜΜΜ) που πρέπει να εκπονηθούν στο μέλλον.
Η ιδιαίτερη επιφάνεια κυκλοφορίας μέσου σταθερής τροχιάς περιλαμβάνει την επιφάνεια που έχουν εγκατασταθεί σιδηροτροχιές, η οποία βρίσκεται εκτός ή εντός του κυκλοφοριακού χώρου της οδού αλλά διαχωρίζεται εμφανώς από την υπόλοιπη κυκλοφορία με κράσπεδα ή άλλα δομικά υπερυψωμένα στοιχεία.
Οι εγκαταστάσεις διέλευσης μέσων σταθερής τροχιάς εντός του κυκλοφοριακού χώρου της οδού επιφέρει το διαχωρισμό της κυκλοφορίας των τροχιοδρόμων από τη λοιπή μηχανοκίνητη κυκλοφορία, με αποτέλεσμα την άνετη και ομαλή ροή και την ασφάλεια αυτών των δύο τύπων κυκλοφορίας.
Η ξεχωριστή εγκατάσταση διέλευσης μέσων σταθερής τροχιάς είναι επιθυμητή στις περιπτώσεις (α) έως και (ε) και είναι απαραίτητη στην περίπτωση (στ):
(α) όταν απαιτείται ο διαχωρισμός των επιφανειών κυκλοφορίας για την κίνηση των αυτοκινήτων
(β) για το διαχωρισμό των μέσων κυκλοφορίας
(γ) σε ταχείς τροχιοδρόμους (μέγιστη επιτρεπόμενη ταχύτητα > 50 km/h)
(δ) στην περίπτωση συχνής διέλευσης τροχιοδρόμων
(ε) όταν πρέπει να καταργηθεί η οχλούσα εγκάρσια κυκλοφορία
(στ) κατά την ένωση συνδετήριων κλάδων τροχιοδρόμων με σιδηροδρομικές γραμμές σε δεύτερο επίπεδο.
Κατά την αξιολόγηση της θέσης της χωριστής εγκατάστασης του μέσου σταθερής τροχιάς στον κυκλοφοριακό χώρο μιας οδού πρέπει να λαμβάνονται υπόψη το σύνολο του συρμού, η διατομή του και οι αντίστοιχοι κόμβοι με την οδό.
Στον κυκλοφοριακό χώρο μίας οδού, η ιδιαίτερη εγκατάσταση διέλευσης του μέσου σταθερής τροχιάς τίθεται κατά κανόνα στο μέσο της οδού.
Αν κρίνεται σκόπιμο, για λόγους βελτίωσης των συνθηκών λειτουργίας και κυκλοφορίας, πρέπει να διαμορφώνονται οι εγκαταστάσεις διέλευσης των μέσων σταθερής τροχιάς, έτσι ώστε να είναι δυνατή η χρήση τους και από τα λεωφορεία της αστικής ή της περιαστικής συγκοινωνίας (βλέπε Σχήμα 3-10).
Το απαιτούμενο πλάτος των χωριστών εγκαταστάσεων των μέσων σταθερής τροχιάς στις θέσεις και στις διαβάσεις των πεζών πρέπει να διατίθεται στο συνολικό μήκος της εγκατάστασης, εφόσον αυτό είναι εφικτό (βλέπε Σχήμα 3-11).
Το μέγιστο επιτρεπόμενο πλάτος των οχημάτων των τροχιοδρόμων είναι 2,65 m. Λεπτομέρειες σχετικές με τη διαπλάτυνση των σιδηροτροχιών σε καμπύλα τμήματα κ.λ.π., αποτελούν αντικείμενο άλλων οδηγιών που πρέπει να εκπονηθούν ([Π] ΟΜΟΕ-ΜΜΜ).
Τυπικά παραδείγματα διατομών με ιδιαίτερες εγκαταστάσεις διέλευσης τροχιοδρόμων για οδούς των ομάδων Α και Β με διαχωρισμένες επιφάνειες κυκλοφορίας και 4 ή 6 λωρίδες κυκλοφορίας απεικονίζονται στο Σχήμα 3-12.

Σχήμα 3-11: Ελάχιστες αποστάσεις σε γραμμές χωριστών εγκαταστάσεων διέλευσης μέσων σταθερής τροχιάς εντός και εκτός του κυκλοφοριακού χώρου μιας οδού.

Οι διαστάσεις σε παρένθεση αναφέρονται σε οδούς με 6 λωρίδες κυκλοφορίας
Β: ποδηλατόδρομος
** όταν υπάρχει υπόστεγο ≥ 2,75
PD: πεζόδρομος
Σχήμα 3-12: Τυπικές διατομές οδών με ιδιαίτερες εγκαταστάσεις διέλευσης τροχιοδρόμου για τις οδούς των ομάδων Α και Β (τυπικό όχημα τροχιοδρόμου πλάτους 2,65 m)
3.4. Απόσταση μεταξύ σιδηροδρομικών γραμμών και οδικών έργων
Κατά το σχεδιασμό των σιδηροδρομικών έργων και άλλων οδικών έργων υποδομής είναι δυνατόν να καταστεί αναγκαία η παράλληλη όδευση των αξόνων. Συχνά είναι απαραίτητη η παράλληλη όδευση σιδηροδρομικών και οδικών έργων για λόγους που αφορούν την τεχνική της χάραξης, οικονομικούς, περιβαλλοντικούς και κυκλοφοριακής πολιτικής.
Σχετικοί κανονισμοί αναφορικά με τις επιτρεπόμενες αποστάσεις μεταξύ των σιδηροδρομικών γραμμών και των οδών δεν υπάρχουν.
Οι χαράξεις των σιδηροδρομικών γραμμών και των οδικών τμημάτων μπορούν να απέχουν τόσο, ώστε να είναι τεχνικά δυνατό και οικονομικά σκόπιμο να εξασφαλίζεται:
| • | η λειτουργική ασφάλεια (π.χ. ορατότητα σηματοδοτών) |
| • | η δυνατότητα στο μέλλον της πιθανής διαπλάτυνσης και των δύο συγκοινωνιακών έργων. |
| • | ότι οι απαιτούμενες κατασκευές είναι κατασκευάσιμες και συντηρήσιμες με τις συνθήκες που επικρατούν. |
Είναι δυνατόν να απαιτηθούν πρόσθετα προστατευτικά μέτρα, όταν οι αποστάσεις μεταξύ σιδηροδρομικών και οδικών έργων είναι ιδιαίτερα μικρές, προκειμένου να εξασφαλισθεί η λειτουργική ασφάλεια των συρμών.
Η απόσταση Ε μεταξύ σιδηροδρομικής γραμμής και οδικού έργου καθορίζεται σε συνάρτηση με την υψομετρική διαφορά Η των δύο έργων (βλέπε Σχήμα 3-13). Στην απόσταση Ε λαμβάνονται υπόψη τα καθοριστικά στοιχεία απόστασης, όπως το πλάτος του υποστρώματος της επιδομής, τα εναέρια σύρματα, οι αποχετευτικές τάφροι, οι οδεύσεις καλωδίων, οι τοίχοι αντιστήριξης καθώς και οι προβλεπόμενες μελλοντικές διαπλατύνσεις.
Το διάγραμμα του Σχήματος 3-13 βασίζεται σε πολύ γενικές αρχές. Επομένως είναι δυνατή η απόκλιση από τα μεγέθη που προκύπτουν από αυτό, εφόσον κατά την εξέταση διαφόρων εναλλακτικών λύσεων ληφθούν υπόψη οι τοπικές ιδιαιτερότητες και κυρίως η ασφάλεια και η οικονομικότητα των έργων.
Η έννοια παράλληλη όδευση ή παράλληλες χαράξεις δεν αφορά αποκλειστικά τη γεωμετρική παραλληλία αλλά τη συμπόρευση των οδεύσεων σε απόσταση μεταξύ τους έτσι ώστε να μη δημιουργείται κίνδυνος από τη λειτουργία του ενός έργου στο άλλο.
Η επιλογή και η διάταξη των στοιχείων διαχωρισμού εξαρτάται από την υψομετρική διαφορά και την οριζόντια απόσταση των δύο συγκοινωνιακών έργων.
Απαιτούμενος χώρος για την εγκατάσταση προστατευτικών στηθαίων ή για ενδεχόμενες διαπλατύνσεις πρέπει να λαμβάνονται υπόψη επιπλέον των μεγεθών του διαγράμματος.
Οι εμφαινόμενες οριζόντιες αποστάσεις Ε και οι υψομετρικές διαφορές Η σημαίνουν:
Ε = απόσταση μεταξύ του άξονα της εξωτερικής σιδηροτροχιάς και του άκρου του σταθεροποιημένου ερείσματος ή της λωρίδας κυκλοφορίας της παράπλευρης οδού
Η = υψομετρική διαφορά μεταξύ της άνω στάθμης της σιδηροτροχιάς και της επιφάνειας κυκλοφορίας της οδού.
Επιτρεπόμενη περιοχή μόνον εφόσον ληφθούν ιδιαίτερα μέτρα προστασίας:
Σ' αυτή την περιοχή η απόσταση Ε είναι μικρότερη από 9,30 m και απαιτείται κατά κανόνα η λήψη ιδιαίτερων προστατευτικών μέτρων για την εξασφάλιση της λειτουργίας της σιδηροδρομικής γραμμής, επειδή εγκυμονούν κίνδυνοι για τις εγκαταστάσεις των σιδηροδρομικών γραμμών και τους διερχόμενους συρμούς από πιθανή εκτροπή και κατακρήμνιση οχημάτων και των φορτίων τους από τα παράπλευρα οδικά έργα.
Κατά το δυνατόν αποφευκτέα περιοχή (παράδειγμα διατομής 2):
Σ' αυτή την περιοχή οι αποστάσεις Ε κυμαίνονται από 9,30 έως 14,80 m (βλέπε Σχήμα 3-13). Εδώ υφίσταται ο κίνδυνος πτώσης των εκτρεπόμενων οχημάτων από την παράπλευρη οδό καθώς και του φορτίου τους στους ιστούς των εναέριων αγωγών. Κατά συνέπεια επιβάλλεται η διαμόρφωση των τοίχων αντιστήριξης με υπερυψωμένη στέψη ώστε να υλοποιείται στηθαίο ασφαλείας που να αποτελεί ενιαία και συμπαγή κατασκευή (κατά το δυνατόν μονολιθική). Αυτή η κατασκευή πρέπει να είναι σε θέση να παραλαμβάνει τα φορτία πρόσκρουσης από την κυκλοφορία της παράπλευρης οδού. Επιπρόσθετα απαιτείται τοποθέτηση μεταλλικών στηθαίων στο έρεισμα της οδού (όπως απαιτείται στα υψηλά επιχώματα).

Σχήμα 3-13: Απόσταση Ε μεταξύ σιδηροδρομικής γραμμής και οδού σε συνάρτηση με την υψομετρική διαφορά Η των δύο έργων.
Περιοχή με τοίχο αντιστήριξης στην οδό (παραδείγματα διατομών 1 και 2):
Σ' αυτή την περιοχή είναι δυνατή η κατασκευή ενός υψηλού τοίχου αντιστήριξης (εάν το ύψος είναι > 8 m ενδείκνυται κατασκευή με οπλισμένη γη με τοποθέτηση στηθαίου από σκυρόδεμα στη στέψη της) με διαμόρφωση όπως το παράδειγμα διατομής 2, ή ο συνδυασμός ενός χαμηλού τοίχου αντιστήριξης και πρανούς (βλέπε παράδειγμα διατομής 1). Και στις δύο διαμορφώσεις η στέψη του τοίχου πρέπει να εξασφαλίζει τη συγκράτηση των εκτρεπόμενων οχημάτων, ενώ παράλληλα τοποθετείται μεταλλικό στηθαίο ασφαλείας στο έρεισμα της οδού (όπως απαιτείται σε υψηλά επιχώματα).
Περιοχές με πρανή (παραδείγματα διατομών 3 και 6):
Σε αυτές τις περιοχές είναι δυνατόν ένα τμήμα της διαχωριστικής νησίδας να διαμορφωθεί ως πρανές και το υπόλοιπο ως οριζόντιο επίπεδο. Η τοποθέτηση στηθαίων ασφαλείας κατά μήκος της οδού στην περιοχή γειτνίασης (Ε ≤ 14,80 m) είναι απαραίτητη εκτός αν η στάθμη της οδού είναι χαμηλότερη σε σχέση με τις σιδηροδρομικές γραμμές περισσότερο από 2,00 m.
Περιοχές μόνο με πρανή (παράδειγμα διατομών 4 και 7):
Σε αυτή την οριακή περίπτωση η διαμόρφωση του εδάφους μεταξύ των δύο έργων υποδομής είναι δυνατή μόνο με πρανή (η συμπαγής γραμμή αναφέρεται σε κλίση πρανούς 1:1,5 και η διακεκομμένη σε κλίση πρανούς 1:2).
Περιοχή ισοσταθμίας με το έδαφος οδού και σιδηροδρομικής γραμμής (παράδειγμα διατομής 5):
Σε αυτή την περίπτωση η απόσταση Ε δεν πρέπει να είναι μικρότερη από 14,80 m επί της οδού. Επί της οδού τοποθετούνται στηθαία ασφαλείας όταν η απόσταση Ε είναι μικρότερη των 14,80 m.
Περιοχή με τοίχο αντιστήριξης στη σιδηροδρομική γραμμή (παραδείγματα διατομών 8 και 9):
Στην περίπτωση αυτή απαιτείται η τοποθέτηση ενός ελαφρού κιγκλιδώματος πεζών μόνο στη στέψη του τοίχου αντιστήριξης.
Αντιθαμβωτικά μέτρα
Ανάλογα με τις εμφανιζόμενες κλίσεις και την οριζοντιογραφική και υψομετρική θέση της οδού πρέπει να εξετάζεται το ενδεχόμενο λήψης μέτρων προστασίας από τη θάμβωση. Κατά την εκπόνηση των σχετικών μελετών πρέπει να ληφθεί πρόνοια, ώστε να μην περιορίζεται η ορατότητα προς τους σηματοδότες της σιδηροδρομικής γραμμής και να μην προκαλείται σύγχυση μεταξύ των σηματοδοτών της οδού και της σιδηροδρομικής γραμμής.
3.5. Πρόσθετες λωρίδες κυκλοφορίας
Σε οδικά τμήματα με έντονες κατά μήκος κλίσεις, με τη διάταξη πρόσθετων λωρίδων κυκλοφορίας καθίσταται δυνατός ο διαχωρισμός της ταχείας και της βραδείας κυκλοφορίας. Η κατασκευή των πρόσθετων λωρίδων εξαρτάται από τους αναπτυσσόμενους κυκλοφοριακούς φόρτους, τη σύνθεση κυκλοφορίας, την τυπική διατομή της οδού, τη μηκοτομή και, στην περίπτωση των οδών με ενιαία επιφάνεια κυκλοφορίας, από τις δυνατότητες προσπέρασης και το επιδιωκόμενο επίπεδο εξυπηρέτησης.
Η αναγκαιότητα των πρόσθετων λωρίδων κυκλοφορίας καθώς και τα στοιχεία για τον υπολογισμό τους αναπτύσσονται στο Τεύχος ΟΜΟΕ-ΠΛΚ.
4. Διατομές σε περιοχές τεχνικών έργων
4.1. Τεχνικά έργα
Τεχνικά έργα σύμφωνα με τις παρούσες οδηγίες θεωρούνται οι γέφυρες, οι τοίχοι αντιστήριξης, οι ανισόπεδες διαβάσεις, οι γέφυρες σήμανσης (περιλαμβάνονται και οι πρόβολοι σήμανσης), και οι σήραγγες.
Η διατομή της οδού σε περιοχές τεχνικών έργων οφείλει να είναι η ίδια με τη διατομή της οδού πριν και μετά την περιοχή των τεχνικών έργων. Σε σήραγγες και πολύ μεγάλου μήκους γέφυρες επιτρέπεται μείωση του πλάτους ή κατάργηση της Λωρίδας Έκτακτης Ανάγκης σε συνδυασμό με λήψη πρόσθετων μέτρων που θα αντικαθιστούν τη λειτουργία της Λωρίδας Έκτακτης Ανάγκης.
Ιδιαιτερότητες που οφείλονται στην κατασκευή των τεχνικών έργων δεν πρέπει να οδηγούν στη μείωση του κυκλοφοριακού χώρου της οδού που διατίθεται εκατέρωθεν των τεχνικών έργων. Εν τούτοις, επιτρέπεται ο περιορισμός του περιτυπώματος μέσα στα επιτρεπτά όρια, σύμφωνα με τα όσα αναφέρονται στην παράγραφο 2.2, ιδιαίτερα στις σύνθετες διατομές, όταν κατά την τοποθέτηση κρασπέδων ή στηθαίων ασφαλείας επιτυγχάνεται οικονομία στην κατασκευή.
Εν τούτοις, λαμβάνοντας υπόψη τις ανάγκες των συνεργείων συντήρησης, είναι αναγκαίο στην περίπτωση ποδηλατοδρόμων, ή συνδυασμού ποδηλατοδρόμων και πεζοδρόμων, να προβλέπεται ένα χρήσιμο πλάτος μεταξύ των σταθερών εμποδίων, ή των κατασκευαστικών στοιχείων, τουλάχιστον ίσο με 2,50 m (βλέπε Σχήμα 3-14).
Όταν στα εκατέρωθεν των τεχνικών έργων οδικά τμήματα υπάρχουν κράσπεδα ή στηθαία, τότε αυτά συνεχίζονται και στην περιοχή των τεχνικών έργων. Τα στηθαία πρέπει να διατηρούνται στην ίδια απόσταση από τον κυκλοφοριακό χώρο (βλέπε Παράρτημα Ι).
Τα σταθερά εμπόδια (π.χ. βάθρα γεφυρών, ιστοί οδοφωτισμού κ.λ.π.) πρέπει να τοποθετούνται σε τόση απόσταση, ώστε να ικανοποιούνται οι απαιτήσεις:
| • | ασφάλισης κυκλοφορίας έναντι σταθερών εμποδίων |
Λόγοι ψυχολογικοί και μορφολογικοί επιβάλλουν την επιλογή μεγαλύτερων αποστάσεων από τις ελάχιστες προβλεπόμενες εφόσον αυτό είναι οικονομικά εφικτό.
Επάνω στα τεχνικά έργα τοποθετούνται στηθαία ασφαλείας. Σε κάτω διαβάσεις και επί γεφυρών επιτρέπεται η παράλειψη του στηθαίου ασφαλείας, μόνον εφόσον:
α. VΕΠΙΤΡ ≤ 50 km/h σε κάτω διαβάσεις
VΕΠΙΤΡ ≤ 30 km/h σε γέφυρες
β. προβλέπεται κράσπεδο μεταξύ του οδοστρώματος και του πεζοδρομίου
γ. το ελάχιστο πλάτος πεζοδρομίου είναι 1,50 m.
Στο εξωτερικό όριο μεταξύ του στηθαίου και του κιγκλιδώματος του τεχνικού έργου είναι επιθυμητή η κατασκευή πεζοδρομίου έκτακτης ανάγκης πλάτους 0,75 m, εφόσον δεν προβλέπονται κανονικά πεζοδρόμια ή / και ποδηλατοδρόμοι (βλέπε Παράρτημα Ι).
Για την τοποθέτηση πεζοδρόμων και ποδηλατοδρόμων σε περιοχές τεχνικών έργων, πρέπει να λαμβάνονται υπόψη οι διαστάσεις που αναφέρονται στην παράγραφο 2.2 (περιτύπωμα). Η τυπική περίπτωση εφαρμογής στις οδούς ομάδας Α και Β, είναι ο συνδυασμός πεζοδρόμου με ποδηλατόδρομο (βλέπε Σχήμα 3-14, διαμόρφωση β και ε). Πεζόδρομοι και ποδηλατόδρομοι σε τεχνικά έργα, εφαρμόζονται αμφίπλευρα ή μονόπλευρα ανάλογα με τις ανάγκες. Παραδείγματα εφαρμογής των διαστάσεων αυτών δίνονται στο Σχήμα 3-14.
Η διαμόρφωση των στοιχείων των διατομών στην περιοχή των τεχνικών έργων παρουσιάζεται στο Παράρτημα Ι.
4.2. Περιοχές χώρου εργασίας επί της οδού
Σε περιοχές χώρου εργασίας επί της οδού (work zones) κατά κανόνα πρέπει να διατίθεται πάντα μία λωρίδα κυκλοφορίας πλάτους τουλάχιστον 2,75 m. Αν προβλέπεται μια προσωρινή λωρίδα κυκλοφορίας για επιβατηγά οχήματα πλάτους έως 2,00 m, τότε επαρκεί και ένα πλάτος λωρίδας ίσο με 2,50 m.
Σε περιοχές εργοταξίων αυτοκινητοδρόμων το πλάτος των προσωρινών λωρίδων κυκλοφορίας που προβλέπονται για χρήση από οχήματα πλάτους > 2,00 m, πρέπει να είναι τουλάχιστον 3,25 m και σε εξαιρετικές μόνο περιπτώσεις να μην είναι μικρότερο από 3,00 m. Σε εργοτάξια αυτοκινητοδρόμων με μήκος μεγαλύτερο από 15 km πρέπει το πλάτος λωρίδας κυκλοφορίας να είναι ίσο με 3,50 m.
Λεπτομέρειες διαμόρφωσης των περιοχών χώρου εργασίας δίνονται στο τεύχος : Προδιαγραφές και Οδηγίες Κατακόρυφης Σήμανσης Αυτοκινητοδρόμων, Μέρος 3, Σήμανση Εργοταξίων της ΔΜΕΟ και σε άλλες ισχύουσες διατάξεις.
4.3. Μεταβολή πλάτους διατομών (διευρύνσεις, στενώσεις επιφανειών κυκλοφορίας)
Οι μεταβολές στα πλάτη των διατομών (που έχουν σχέση με τη μείωση ή την αύξηση της λειτουργικής ικανότητας της οδού) πρέπει να γίνονται κατά κανόνα σε περιοχές κόμβων.
Στοιχεία σχετικά με τη διεύρυνση ή τη στένωση επιφανειών κυκλοφορίας, περιέχονται στις ΟΜΟΕ-Χ και στις ΟΜΟΕ-ΠΛΚ. Σχετικά στοιχεία θα περιληφθούν και στις Οδηγίες Μελέτης Ισόπεδων και Ανισόπεδων Κόμβων, η εκπόνηση των οποίων εκκρεμεί.
Αναφορικά με τις θέσεις μεταβολής των διατομών τύπου β 2+1 πληροφοριακά στοιχεία δίνονται στην παράγραφο 3.2.

Σημείωση:
1. Διαμορφώσεις πεζοδρόμων και ποδηλατοδρόμων εφαρμόζονται αμφίπλευρα ή μονόπλευρα, ανάλογα με τις ανάγκες
2. Οι διαμορφώσεις α, β και γ εφαρμόζονται μόνο σε οδούς με VΕΠΙΤΡ ≤ 30 km/h
3. Οι διαμορφώσεις β και ε (συνδυασμός πεζοδρόμου με ποδηλατόδρομο) αποτελούν τυπική περίπτωση στις οδούς των ομάδων Α και Β 4. 4. Για πεζοδρόμια, βλέπε Παράρτημα Ι
Σχήμα 3-14: Διαμόρφωση πεζοδρόμων και ποδηλατοδρόμων πάνω σε τεχνικά έργα